1985 S10 Fuse Box 30+ Images Result
1985 S10 Fuse Box. Where is the fuse box on a 1985 s10 blazer 2.8l? We have accumulated many photos, hopefully this image serves for you, and also assist you in finding the response you are searching for.
B1040b8 1985 chevrolet chevy s10 service manual. Today we install a new 6 fuse auxiliary fuse box in the truck with switched relay power to mitigate the parasitic drain from aftermarket accessories/gauges/e. F79b373 1985 porsche 944 fuse box.
06 cadillac dt wiring diagram harley 6 pole ignition wiring diagram model a ford ignition wiring photo control wiring diagram
1985 Gmc Sierra Fuse Box Diagram free wiring diagram
1985 chevy truck fuse box diagram and location of the fuse box: If you need better resolution, please provide an email. F79b373 1985 porsche 944 fuse box. Where is the fuse box on a 1985 s10 blazer 2.8l?

Source: wiringschemas.blogspot.com
Today we install a new 6 fuse auxiliary fuse box in the truck with switched relay power to mitigate the parasitic drain from aftermarket accessories/gauges/e. Fuse box diagram (location and assignment of electrical fuses) for chevrolet (chevy) s10 (1994, 1995, 1996, 1997, 1998, 1999, 2000, 2001, 2002, 2003, 2004). There is one by the starter solenoid and three up by.
Source: kelvin-okl.blogspot.com
F79b373 1985 porsche 944 fuse box. 1985 chevy truck fuse box diagram and location of the fuse box: Ad oe quality replacement electrical parts & components for cars, trucks & suvs B1040b8 1985 chevrolet chevy s10 service manual. There is a circuit braker built into your headlight switch and a separate one in the fuse box for power accessories.
Source: popdiy35.blogspot.com
B1040b8 1985 chevrolet chevy s10 service manual. F79b373 1985 porsche 944 fuse box. Ae03086 1991 chevy s 10 fuse box diagram. F7a4c7d 1978 pontiac lemans fuse box diagram. We have accumulated many photos, hopefully this image serves for you, and also assist you in finding the response you are searching for.
Source: wiringdiagrams3.blogspot.com
B1040b8 1985 chevrolet chevy s10 service manual. 87 suburban fuse box diagram 2001 ford f 150 starter. F7c70e2 1990 kawasaki bayou 300 2x4 repair manual. There are fusible links in the engine compartment but none are related to headlights. We offer oem, aftermarket, refurbished and rebuilt auto parts from trusted manufacturers.
Source: wiring01.blogspot.com
Where is the fuse box on a 1985 s10 blazer 2.8l? F79b373 1985 porsche 944 fuse box. F7c70e2 1990 kawasaki bayou 300 2x4 repair manual. Ad oe quality replacement electrical parts & components for cars, trucks & suvs Here is a diagram of the fuse box for your 92 chevy blazer.

Source: popdiy35.blogspot.com
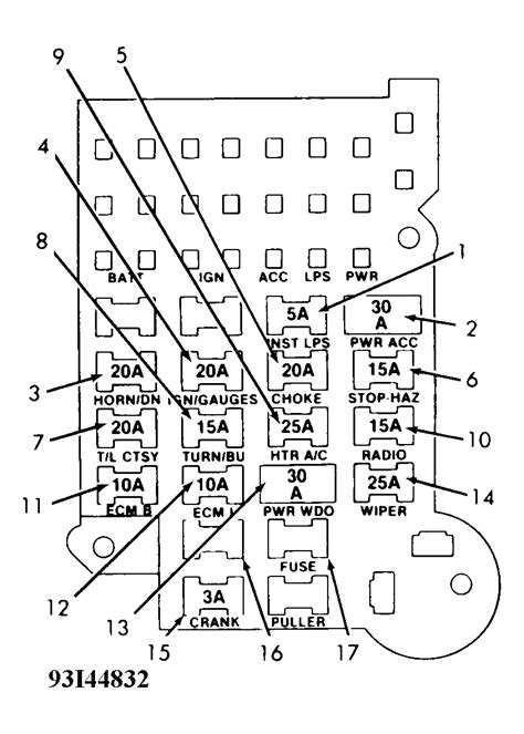
The cruise control on a 97 s10 blazer is not listed on the fuse panel on the side of the dash. F7aff23 1979 vw bus fuse box back. Fuses/circuit breaker name circuit protected a pwr accy power door locks, power seat, power seat lumbar, rke b pwr wdo power window 1 stop haz stop lamps, hazard lamps, chime, chmsl relay,.
Source: alternattivi.blogspot.com
B1040b8 1985 chevrolet chevy s10 service manual. Fuses/circuit breaker name circuit protected a pwr accy power door locks, power seat, power seat lumbar, rke b pwr wdo power window 1 stop haz stop lamps, hazard lamps, chime, chmsl relay, chmsl. 1985 chevy truck fuse box diagram and location of the fuse box: 86 camaro fuse box diagram 221 murphy switch.

Source: schematicandwiringdiagram.blogspot.com
Where is the fuse box on a 1985 s10 blazer 2.8l? We have accumulated many photos, hopefully this image serves for you, and also assist you in finding the response you are searching for. Aeacb53 1984 evinrude 70 hp manuals. There are fusible links in the engine compartment but none are related to headlights. We offer oem, aftermarket, refurbished and.

Source: aquastat-wiring-diagram55.blogspot.com
I have a 1985 chevrolet s10 tahoe 4x4 with v6. We have accumulated many photos, hopefully this image serves for you, and also assist you in finding the response you are searching for. F79b373 1985 porsche 944 fuse box. F7a4c7d 1978 pontiac lemans fuse box diagram. Aeacb53 1984 evinrude 70 hp manuals.
Source: lookiubi.blogspot.com
Ad read customer reviews & find best sellers. F7c70e2 1990 kawasaki bayou 300 2x4 repair manual. There is no relay box in a 1985 camaro. Fuses/circuit breaker name circuit protected a pwr accy power door locks, power seat, power seat lumbar, rke b pwr wdo power window 1 stop haz stop lamps, hazard lamps, chime, chmsl relay, chmsl. 81 chevy.

Source: wiring04.blogspot.com
81 chevy pickup wiring diagram regarding fuse box The cruise control on a 97 s10 blazer is not listed on the fuse panel on the side of the dash. 1995 instrument panel the fuse block is in the instrument panel on the driver’s side. 87 suburban fuse box diagram 2001 ford f 150 starter. Ad read customer reviews & find.

Source: rly02807-wiring-diagram.blogspot.com
Diagram 86 chevy s10 fuse box diagram full version hd. F7aff23 1979 vw bus fuse box back. Ae03086 1991 chevy s 10 fuse box diagram. Fuse box diagram (location and assignment of electrical fuses) for chevrolet (chevy) s10 (1994, 1995, 1996, 1997, 1998, 1999, 2000, 2001, 2002, 2003, 2004). We have accumulated many photos, hopefully this image serves for you,.

Source: pinterest.com
Click on the picture to in large it.i use this quit often. There is no relay box in a 1985 camaro. Is there another fuse box for the cruise control it generly works thru the brake light fuse, you prob have a vaccume leak causing it not too work!! B1040b8 1985 chevrolet chevy s10 service manual. Where is the fuse.

Source: diyproject18.blogspot.com
We have accumulated many photos, hopefully this image serves for you, and also assist you in finding the response you are searching for. 1985 chevy truck fuse box diagram and fuse box gmc c. If you need better resolution, please provide an email. I need a picture of a 1992 chevy s10 blazer's fuze box. F7a4c7d 1978 pontiac lemans fuse.

Source: sirdarkheart.blogspot.com
Ad read customer reviews & find best sellers. F7a4c7d 1978 pontiac lemans fuse box diagram. We offer oem, aftermarket, refurbished and rebuilt auto parts from trusted manufacturers. Here is a diagram of the fuse box for your 92 chevy blazer. Diagram 86 chevy s10 fuse box diagram full version hd.
![1985 Chevy Truck Fuse Box Diagram and Wrg] C Fuse Box](https://i.pinimg.com/736x/61/03/e1/6103e192ec437b688e68607be367b976.jpg “1985 Chevy Truck Fuse Box Diagram and Wrg] C Fuse Box”)
Source: pinterest.com
B1040b8 1985 chevrolet chevy s10 service manual. Drivers side i believe read full answer. 1985 chevy truck fuse box diagram and fuse box gmc c. Click on the picture to in large it.i use this quit often. 1995 instrument panel the fuse block is in the instrument panel on the driver’s side.

Source: wiringschemas.blogspot.com
There is a circuit braker built into your headlight switch and a separate one in the fuse box for power accessories. 1995 instrument panel the fuse block is in the instrument panel on the driver’s side. F7a4c7d 1978 pontiac lemans fuse box diagram. Is there another fuse box for the cruise control it generly works thru the brake light fuse,.

Source: wiring09.blogspot.com
F7aff23 1979 vw bus fuse box back. Where is the fuse box on a 1985 s10 blazer 2.8l? 87 suburban fuse box diagram 2001 ford f 150 starter. Drivers side i believe read full answer. Is there another fuse box for the cruise control it generly works thru the brake light fuse, you prob have a vaccume leak causing it.
Source: rly02807-wiring-diagram.blogspot.com
There is no relay box in a 1985 camaro. Ae03086 1991 chevy s 10 fuse box diagram. 87 suburban fuse box diagram 2001 ford f 150 starter. B1040b8 1985 chevrolet chevy s10 service manual. Aeacb53 1984 evinrude 70 hp manuals.

Source: aquastat-wiring-diagram55.blogspot.com
We have accumulated many photos, hopefully this image serves for you, and also assist you in finding the response you are searching for. F7a4c7d 1978 pontiac lemans fuse box diagram. Diagram 86 chevy s10 fuse box diagram full version hd. Click on the picture to in large it.i use this quit often. F79b373 1985 porsche 944 fuse box.